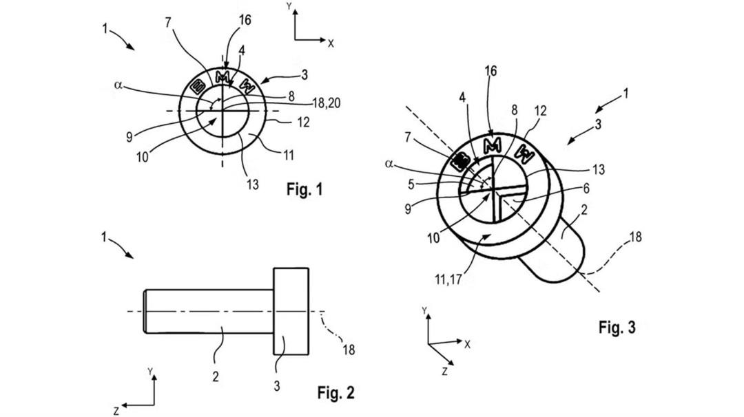
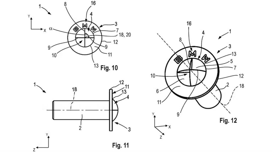
😳 BMW запатентовала винты с головкой в форме фирменного логотипа. Такие крепления невозможно открутить обычными инструментами, что фактически лишает владельцев возможности ремонтировать машины самостоятельно.
Патент касается элементов салона и ключевых узлов, включая сиденья и кузовные соединения. Доступ к ним получают в основном официальные дилеры.
В результате ремонт вне дилерских центров становится сложнее и дороже, особенно в регионах с их нехваткой, включая Россию.

